3C认证英文名称China Compulsory Certification,缩写CCC,全称中国强制性产品认证是中国政府于2001年12月3日发布的为保护消费者人身安全和国家安全,加强产品质量管理,依照法律法规实施的一种产品合格评定制度3C标志并。
按照强制性认证管理规定,对列入目录内的商品,自2003年5月1日起,未获得强制性产品认证证书和未加施中国强制性认证标志的产品不得出厂进口销售二学习机CCC认证范围是什么?由中央处理器显示处理器具有信息输入。
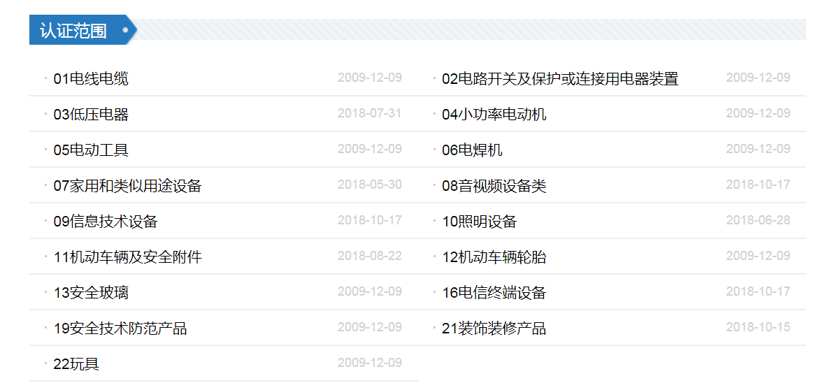
CCC目录共 20大类产品 具体分类,可以查询国家认监委管网 链接如下qzxcprzmlmsyjdWpdf。
3C认证是中国强制性产品认证的简称主要内容概括起来有以下几个方面一按照世贸组织有关协议和国际通行规则,国家依法对涉及人类健康安全动植物生命安全和健康,以及环境保护和公共安全的产品实行统一的强制性产品认证制度。
首先说目录,凡是在CCC认证目录内的产品都需要有CCC认证才可以在中国进口,和在中国市场上销售,所谓3C免办,首先是指该产品在CCC目录内,但由于一些原因如小批量进口,用作样品等大概10几条条件,可以向产品进口城市的。
根据中国入世承诺和体现国民待遇的原则,国家对强制性产品认证使用统一的标志,自2002年5月1日起新的国家强制性认证标志名称为“中国强制性认证”其英文名称为“China Compulsory Certification”,英文缩写为“CCC”,也可简称“。
是的,不在CCC强制范围内的产品,不用申请认证即可在国内销售,目前国家规定认证产品范围已由最初的19大类132种扩展为22大类159种,可上CQC网站查询。

不是,是一个需要做CCC认证产品的目录哪些产品需要做认证的明显3C认证的全称为“强制性产品认证制度”,它是中国政府为保护消费者人身安全和国家安全加强产品质量管理依照法律法规实施的一种产品合格评定制度所谓3C。
3C认证有一个指定的产品范围,凡是在这个范围之内的都必须做认证,不在范围之内的都不可以做3C认证于是有些不具备3C认证资格的产品为了博得消费者的认可,就要求国家出具其他标准的认证,最常见的就是CQC自愿性认证它不是。
CCC认证是China Compulsory Certification的简写,就是中国强制性产品认证目前能做CCC认证有中国质量认证中 商检认证集团,方圆认证集团,中汽认证中心等这些机构的主管部门,也是我国认证主管部门是国家认监。
具体产品的加施方式及位置请参照对应的产品实施规则执行 3CCC标志发放管理处受中国国家认证认可监督管理委员会的委托,核准印刷模压CCC认证标志等使用方案 4申请自行印刷模压3C标志,由3C认证证书持有人按下列程序。

8ODM贴牌3C认证意向申请书3C认证正式申请书申请人递交ODM贴牌3C认证意向申请书后有认证机构提供正本,企业只需签字盖章即可“申请人提供”93C认证目录范围内的零配件已通过3C认证的证书复印件“贴牌生产厂。
发表评论